Доброго времени суток Вам, друзья
Сегодня хочу рассказать о том, какие стандарты при установке сантехнических приборов обычно используются. Часто бывает, что хозяева квартир в процессе установки сантехнических приборов или ремонта задаются вопросами, на какой высоте должно быть то или иное оборудование в санузле. Вот и попробуем раскрыть здесь эту тему. Ни в коем случае не ограничиваю вас, в ваших фантазиях, о том где и как установить тот или иной прибор, но всё-таки придерживаясь некоторых стандартов, можно избежать проблем в последующей эксплуатаци. Тему для этой статьи мне подбросил один знакомый. Он позвонил мне и спросил, на какой высоте должны быть выводы воды над ванной. Сантехники пришли, сделали выводы, не закрепили, так оставили и ушли.
Так какая же высота на чём должна быть?
Изначально надо сказать, что очень важно понимать высоту, где мы сейчас находимся. И с этим нужно немного разобраться. Есть три уровня высоты, которые следует учитывать.
Первый, это пол "без ничего", т.е. как есть, после сдачи строителей. Обычно, это просто бетон, в лучшем случае покрыт гидроизоляцией.
Второй, -это уровень стяжки по всей квартире.
Третий,- это уровень плитки на полу.
От этого уровня и следует делать все рассчеты, (даже если его ещё нет).
Как это обычно рассчитывается:
Как видим на рисунке, слева будущий уровень пола с паркетом, а справа уровень плитки. Если вы хотите, чтобы пол в ванной был ниже на пару сантиметров, от уровня в ванной, то это тоже нужно заранее учитывать на этапе залития стяжки под плитку. Если планируете заложить "тёплый пол", то на это тоже следует учесть 6-7мм. При условии хорошей гидроизоляции на полу в санузле, это хорошее решение от возможного незначительного протекания воды на пол в ванной. Если в полу вмонтирован трап, то это может защитить даже от сильного протекания воды на пол в ва- шем санузле.
И первый, и второй вариант, хороши. Следует только учесть пропускную способность выбираемого изделия. Это можно прочесть в паспорте трапа. И надо сказать, что это не всегда соответствует скорости наполнения объёма сравнивая выход из смесителя и из оборванного штуцера от гибкого шланга (это, если брать случай с аварийной ситуацией в вашей ванной комнате).
Можно использовать также и пристенный трап для душевой кабины, но не забывать о пропуской способности. Кроме того, следует отметить, что ограничивают, ещё и технические возможности. Трап имеет свою высоту, и ниже его не поставишь. А ещё, есть высота выхода из стояка канализации и она тоже сильно влияет на высоту пола в ванной комнате. В этом случае всё можно подправить(например опустить выход стояка канализации ниже), но это тянет на довольно большие дополнительные расходы и без услуг опытного сантехника здесь не обойтись. Как решение этой проблемы, чтобы обойтись без трапа (как защиты от подтопления) можно использовать "антипотоп".
Не буду рекламировать какое-то конкретное изделие, но скажу лишь, что хорошо себя зарекомендовало. В этом случае мы не увеличиваем толщину пола в санузле, но надёжно защищаем вашу квартиру от потопа. Кратко, (если кому интересно, "антипотоп" срабатывает на каплю воды попадающую на датчик протекания и перекрывает входные краны специальными приводами К этому устройству нужно только обеспечить наличие 220 вольт. Включение воды - вручную).
Итак, с технической стороной мы разобрались. Если рассматривать вариант с установкой смесителя с длинным "гусаком", который поворачивается и в ванну и в умывальник, то в этом случае, высота от "чистого" пола от 1,0 метра до 1,25 (или как вам комфортно). На чертеже рассматривается один из таких вариантов.
Как вариант это может выглядеть так:
Смеситель по высоте выводим как на рисунке, а по вертикали от угла с учетом центра вашей ванны (они бывают разной длины и ширины).
Бывают случаи, когда смеситель ставят на боковую стену ванны. Но и в этом случае высоту желательно выбрать такую же, как на рисунке выше. В этом случае есть один недостаток.Если выпуск из ванной не по центру, то вода из смесителя будет течь по всей ванне до выпуска и в последствии эксплуатации на поверхности остаётся след.
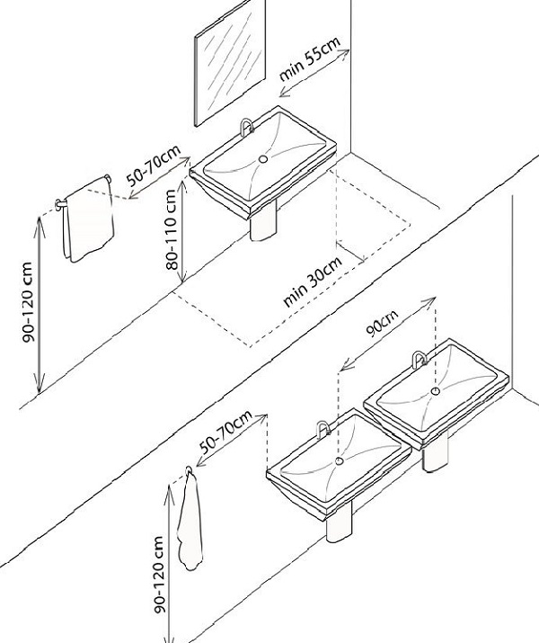
Далее, рассматриваем высоту для умывальника. Всё по чертежу, только если внизу под умывальником будет "полунога" или закрытый полупьедистал, то расстояние между выводами холодной и горячей воды лучше сделать 75 мм., т.к. с краниками при установке может не войти. Не лишним будет напомнить, что гораздо красивее, когда всё симметречно и по центру.
Нужно отметить, что бывают случаи, когда в санузел для большой семьи, ставят два умывальника, то и в этом случае есть стандарты:
При такой расстановке размеры для выводов остаются такими же. Но должен заметить, что все эти размеры подходят только для стандартной техники. Если то, что вы собрались устанавливать отличается, то и размеры для выводов следует корректировать. Например стандартный умывальник по глубине 220 мм. Но встречаются и глубокие (более 220мм) и более тонкие, как на картинке:
Понятно, что у такой модели, размеры будут отличаться от стандартной установки. Далее рассмотрим вариант с обычным умывальником, но необычным смесителем. В этом случае на смесителе есть выход на лейку. И этот вариант часто используется на умывальник в отдельном туалете, в качестве биде,или для технических нужд. С размерами в этом варианте всё по стандартам (по размерам, описанным выше).
Не лишним будет отметить, что следует учесть размеры при размещении оборудования как на картинках ниже с вариантом на один унитаз.
И на унитаз и биде рядом стоящие. Вдаваться в подробности выводов канализации и воды для этих приборов я не стану, т.к. это связано с очень многими параметрами и поэтому рекомендую обратиться к опытному сантехнику.
О том, как соблюдать размеры при установке водонагревателя, подробно описано в статье: Как установить водонагреватель
Надеюсь, что информация была полезной для вас.
Благодарю за ваше внимание.
Если вам понадобится помощь опытного сантехника, то звоните: (067) 465-64-68
Сайт создан студией "A.V.A. studio" Все права защищены